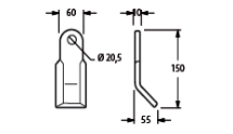
Y-kés ZAP 01

Kovácsolt acél szárzúzókés

pageup