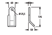
Y-kés UBA 01

Kovácsolt acél szárzúzókés

pageup