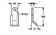
Y-kés NOB 05

Kovácsolt acél szárzúzókés

 

pageup