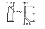
Y-kés MAL 14

Kovácsolt acél szárzúzókés

pageup