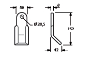
Y-kés HYM 02

Kovácsolt acél szárzúzókés

pageup