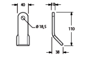
Y-kés DRG 05

Kovácsolt acél szárzúzókés

pageup