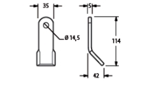
Y-kés AGM 04

Kovácsolt acél szárzúzókés

pageup